分類目(mu)錄歸檔:瓦(wa)楞👩🏿‍❤️‍💋‍👨🏽国产黄色视频在线观看⛹🏻‍♀️紙盒講(jiang)述

中國紙(zhi)箱行業的(de)發展趨勢(shi)

   近(jin)幾年,我國(guo)瓦楞紙箱(xiang)行業發展(zhan)速度很快(kuai),但是與國(guo)民經濟發(fa)👋展
的需求(qiu)和與先進(jin)國家同行(hang)的水平相(xiang)比,還有很(hen)大差距✡️,紙(zhi)箱🏃🏻‍♀️行業是(shi)一
個長青(qing)長盛的産(chan)業。
    首先包(bao)裝是爲商(shang)品生産和(he)流通服務(wu)的,随着國(guo)民經濟的(de)發展,全
社(she)會對紙箱(xiang)包裝的需(xu)求量隻能(neng)是越來越(yue)大。
    第二,從(cong)紙箱包裝(zhuang)本身的性(xing)質來看,它(ta)是一種綠(lü)色包裝産(chan)品,更
受歡(huan)迎。現代社(she)會強調的(de)是節約資(zi)源保護環(huan)境和可持(chi)⛹🏻‍♂️續發展👨‍🦰,紙(zhi)箱包
裝可(ke)以回收、再(zai)生,可重複(fu)利用,自然(ran)降解,符合(he)環保🙆🏿要求(qiu)。
    目前我國(guo)紙箱行業(ye)正在由單(dan)一功能向(xiang)多功能的(de)方向😜發展(zhan)😁,紙👩🏽‍🐰‍👩🏿箱包
裝(zhuang)從單純的(de)運輸包裝(zhuang)向運輸與(yu)銷售包裝(zhuang)相結合的(de)方向轉化(hua),由此引出(chu)
了紙箱包(bao)裝輕量化(hua)、高強度、細(xi)瓦楞、精印(yin)刷、異型箱(xiang)結構以及(ji)預印
問題(ti)等。
    1.産品向(xiang)全面發揮(hui)包裝功能(neng)的方向發(fa)展
    随着市(shi)場經濟的(de)發展,商品(pin)對包裝要(yao)求越來越(yue)高🤑,瓦楞紙(zhi)😜箱由過
去(qu)的單純用(yong)作運輸包(bao)裝向運輸(shu)包裝和銷(xiao)售包裝相(xiang)結合的方(fang)向發展。
    2.生(sheng)産設備向(xiang)高檔化、國(guo)際化方向(xiang)發展
    瓦楞(leng)紙闆生産(chan)線向高速(su)、高效、寬幅(fu)、低耗、封閉(bi)無污👾染、計(ji)算
機控制(zhi)和多功能(neng)的方向發(fa)展。後工序(xu)的印刷開(kai)槽機也向(xiang)着高👹檔、快(kuai)
速、多色、寬(kuan)幅、自動化(hua)控制等方(fang)向發展。
    3.生(sheng)産模式逐(zhu)步椎行“集(ji)中制闆,分(fen)散制箱”
    “集(ji)中制闆,分(fen)散制箱”體(ti)現了社會(hui)化大生産(chan)的專業化(hua)分工和😗協(xie)
作,有利于(yu)調整和提(ti)升産業結(jie)構,符合市(shi)場經濟的(de)優勢互補(bu)、共同發
展(zhan)和優勝劣(lie)汰的規律(lü)。
    4.瓦楞原紙(zhi)向低定量(liang)、高強度、輕(qing)量化發展(zhan)
    目前,各種(zhong)微細瓦楞(leng)(G、N型)的開發(fa)以及低定(ding)量瓦楞原(yuan)紙的
生産(chan),使得瓦楞(leng)紙闆的定(ding)量明顯下(xia)降,國外最(zui)低可達500g/m2。微(wei)…細
瓦楞紙(zhi)闆可在膠(jiao)印機上直(zhi)接印刷,且(qie)質量高。國(guo)内高強度(du)😥瓦楞紙闆(pan)的消費潛(qian)力還很大(da),應積極發(fa)展本土的(de)高強度瓦(wa)楞紙闆生(sheng)産,降低其(qi)進
口數量(liang)。
    5.節省資源(yuan)、保護環境(jing)
    目前我國(guo)加工紙箱(xiang)對紙資源(yuan)浪費嚴重(zhong):高強度、低(di)定量瓦🙉楞(leng)原紙
尚未(wei)全面推廣(guang)。美國三層(ceng)瓦楞紙箱(xiang)比例占89.4%,日(ri)本三層瓦(wa)楞紙箱
占(zhan)84. 6%,而我國五(wu)層瓦楞紙(zhi)箱占80%以上(shang),多用兩層(ceng)紙就浪費(fei)2/5
的紙。
    6.開發(fa)新産品,拓(tuo)寬紙箱應(ying)用範圍,注(zhu)重瓦楞紙(zhi)箱結💞構😝調(diao)整
    一是開(kai)發了可在(zai)膠印機上(shang)直接印刷(shua)的G型瓦楞(leng)紙闆;二是(shi)開發了
F型(xing)和K型瓦楞(leng)紙闆;三是(shi)推出了高(gao)強度瓦楞(leng)複合闆,該(gai)紙闆改變(bian)了
傳統瓦(wa)楞紙闆的(de)卧式排列(lie)結構,創造(zao)性地采用(yong)瓦楞立💞式(shi)緊密排列(lie)結
構,不僅(jin)強度高,而(er)且具有優(you)異的抗壓(ya)、抗彎和緩(huan)沖性能,可(ke)替代重
型(xing)瓦楞紙闆(pan)、蜂窩紙闆(pan)和木闆包(bao)裝,是一種(zhong)新型的環(huan)✋保🤑包裝材(cai)🙈料。
    瓦楞紙(zhi)箱是一種(zhong)十分優良(liang)的包裝材(cai)料,可以代(dai)木、代塑,可(ke)以回👩‍🍼
收利(li)用,是綠色(se)包裝材料(liao),具有良好(hao)的發展前(qian)景。
    另外我(wo)國超市零(ling)售及食品(pin)行業發展(zhan)迅速,作爲(wei)快速🧎🏻‍♀️‍➡️消費(fei)品😺的包
裝(zhuang),瓦楞紙箱(xiang)紙盒有很(hen)大優勢,特(te)别是微細(xi)瓦楞的市(shi)場發展前(qian)景更是
廣(guang)闊,如超市(shi)貨架、同時(shi)具有運輸(shu)和展示商(shang)品功能的(de)箱盒👩🏽‍🐰‍👩🏿、集~束(shu)㊙️包裝
等。如(ru)G楞、F楞産品(pin)具有優良(liang)的物理性(xing)能和印刷(shua)精美👩🏿‍❤️‍💋‍👨🏽效🧑🏻‍❤️‍🧑🏼果(guo),據預
測,今(jin)後五年内(nei),G楞将占到(dao)10%的市揚份(fen)額。
    中國作(zuo)爲世界瓦(wa)楞包裝大(da)國,“十一五(wu)”期間經濟(ji)的高速😈發(fa)展爲
我國(guo)紙箱行業(ye)帶來了非(fei)常有利的(de)市場契機(ji),隻要我們(men)👯🏾‍♂️攜手努力(li),我們
紙箱(xiang)行業的明(ming)天一定會(hui)更加美好(hao)。

文章由深(shen)圳印刷廠(chang) 海倫印刷(shua)發布/blog/zgzxhyfzqs

中(zhong)國瓦楞紙(zhi)箱行業存(cun)在的問題(ti)

中(zhong)國瓦楞紙(zhi)箱行業存(cun)在的問題(ti)
  (1)企業現代(dai)化管理水(shui)平不高,利(li)潤無法最(zui)大化。
  (2)産品(pin)檔次不高(gao)、單一化、結(jie)構不合理(li)。目前大多(duo)數企業新(xin)産
品開發(fa)和科技推(tui)廣能力不(bu)強,行業産(chan)品單一、更(geng)新速度慢(man),高😮‍💨檔次、
性(xing)能優良的(de)紙箱産品(pin)依然短缺(que)。
    (3)各區域紙(zhi)箱企業分(fen)布不均勻(yun),缺乏有行(hang)業領軍地(di)位的大型(xing)企
業集團(tuan)。
    (4)設備集約(yue)化程度不(bu)高。據資料(liao)介紹,美國(guo)瓦楞紙闆(pan)生🙈産🙈線數(shu)
目還不及(ji)我國的40%,但(dan)其生産的(de)瓦楞紙闆(pan)(按面積計(ji)算)是我👽們(men)😁
的3倍多,這(zhe)與生産線(xian)水平和開(kai)機率有很(hen)大關系。據(ju)統計,我🔞國(guo)瓦楞
紙闆(pan)生産線的(de)平均開機(ji)率僅爲40%。而(er)提高開機(ji)率,一是😵‍💫走(zou)“集👨‍🦰中🛌🏻
制闆(pan),分散制箱(xiang)”的道路,再(zai)就是必須(xu)通過聯合(he)、兼并、重🏃🏻‍♀️組(zu)和🛀🏼股😁份
制(zhi)改造,淘汰(tai)設備落後(hou)的小紙箱(xiang)廠,組建若(ruo)幹大型瓦(wa)楞紙箱企(qi)業集
團,讓(rang)先進的設(she)備充分發(fa)揮其作用(yong)。
    (5)行業标準(zhun)不能及時(shi)與國際接(jie)軌。我國瓦(wa)楞紙箱行(hang)🔞業标準水(shui)平🙉不高,也(ye)未能做到(dao)及時與國(guo)際标準接(jie)軌。

文章由(you)深圳印刷(shua)廠 海倫印(yin)刷編輯  /wp-login.html

紙箱行業(ye)的三次技(ji)術改造

    (l)第一(yi)次技術改(gai)造。從80年代(dai)後期開始(shi),單面瓦楞(leng)機組替代(dai)🤶🏾
傳統的單(dan)機生産瓦(wa)楞紙闆,這(zhe)是我國瓦(wa)楞紙箱行(hang)業進行的(de)第一次技(ji)術
改造。文(wen)章又深圳(zhen)印刷廠 海(hai)倫印刷編(bian)輯
    (2)第二次(ci)技術改造(zao)。從90年代開(kai)始使用瓦(wa)楞紙闆生(sheng)産線,使
紙(zhi)闆生産質(zhi)量好、速度(du)快,爲紙箱(xiang)後道成型(xing)工序提供(gong)了品質保(bao)🛀🏼證。
    (3)第三次(ci)技術改造(zao)。21世紀初期(qi),我國瓦楞(leng)紙箱行業(ye)進行了
第(di)三次技術(shu)改造,新上(shang)馬的瓦楞(leng)紙箱生産(chan)線的幅寬(kuan)一般😥在👿2米(mi)以上,
速度(du)在150米/分以(yi)上。同時瓦(wa)楞紙箱印(yin)刷的發展(zhan)向高檔次(ci)🧑🏽‍🎄、多色🧛🏾‍♀️彩🤑、
高(gao)質量、立體(ti)感強、視覺(jiao)效果突出(chu)方向發展(zhan)。

經濟(ji)的快速增(zeng)長促使我(wo)國瓦楞紙(zhi)箱行業形(xing)成三大區(qu)域闆塊

    我國(guo)各省市經(jing)濟發展的(de)不同特點(dian)造成了各(ge)地瓦楞紙(zhi)箱企業分(fen)布和
    發展(zhan)的不均衡(heng)。珠江三角(jiao)洲,長江三(san)角洲,京、津(jin)和河北、山(shan)東的🧛🏾‍♀️一些(xie)地區,由于(yu)市場需求(qiu)的不斷提(ti)高,無論在(zai)企業規模(mo)還是生産(chan)😘能力、
産品(pin)質量、生産(chan)效益上都(dou)位居全國(guo)同行業前(qian)列。文章由(you)深圳印刷(shua)廠 海倫編(bian)輯
    珠江三(san)角地區是(shi)我國瓦楞(leng)紙箱行業(ye)發展最成(cheng)熟的,尤~其(qi)以廣東較(jiao)
爲明顯。廣(guang)東是國内(nei)家電和電(dian)子産品生(sheng)産企業最(zui)集中的地(di)區,廣東紙(zhi)
箱企業的(de)先進設備(bei)、行業規模(mo)、産品質量(liang)和産值效(xiao)益都超🙈越(yue)了👽全國其(qi)
他省市。例(li)如瓦楞紙(zhi)闆生産線(xian),廣東擁有(you)量占到全(quan)國的近三(san)🙈分之一;
從(cong)行業規模(mo)看,廣東目(mu)前有大小(xiao)規模紙箱(xiang)廠五千多(duo)家,銷售💘額(e)過億元
的(de)包裝企業(ye)和企業集(ji)團達五十(shi)多家,香港(gang)和外商投(tou)資👹的企業(ye)在廣東地(di)
區也是最(zui)爲集中的(de)。
    長江三角(jiao)洲地區近(jin)幾年發展(zhan)最爲迅速(su),其迅猛之(zhi)勢直逼💔華(hua)南并且
極(ji)具超越潛(qian)力。據上海(hai)市包裝容(rong)器委員會(hui)統計,上海(hai)市紙箱行(hang)業1990
年銷售(shou)額爲10億元(yuan),到2002年銷售(shou)額增加到(dao)60億元。上海(hai)目前😌擁
有(you)瓦楞紙闆(pan)生産線150條(tiao),年銷售額(e)上億元的(de)企業10多家(jia)。
    浙江、江蘇(su)瓦楞紙箱(xiang)行業發展(zhan)勢頭強勁(jin),目前中國(guo)包裝👩🏿‍❤️‍💋‍👨🏽聯合(he)會全
國性(xing)的中國紙(zhi)包裝開發(fa)生産基地(di)(勝達集團(tuan)有限🤑公司(si))、中國紙👯🏾‍♂️闆(pan)開
發基地(di)(浙江景興(xing)紙業公司(si))、中國紙制(zhi)品納米技(ji)術👼🏾應用👽研(yan)究中心
(上(shang)峰包裝集(ji)團)等大型(xing)包裝專業(ye)生産基地(di)、中心全部(bu)落戶在浙(zhe)江地
區,這(zhe)足以說明(ming)該區域闆(pan)塊在同行(hang)業舉足輕(qing)重的位置(zhi)😵‍💫。
    以京、津、河(he)北、山東爲(wei)代表的區(qu)域闆塊的(de)發展也極(ji)爲迅速🙉。
近(jin)幾年,中國(guo)食品行業(ye)特别是乳(ru)制品行業(ye)的發展爲(wei)這個👼🏾區域(yu)的瓦楞
紙(zhi)箱行業帶(dai)來了巨大(da)商機,内蒙(meng)古伊利集(ji)團、蒙牛集(ji)團、北京三(san)
元、上海光(guang)明等乳業(ye)巨頭紛紛(fen)在華北、東(dong)北地區投(tou)資擴張,這(zhe)從側
面促(cu)進了這個(ge)區域紙箱(xiang)行業的飛(fei)速發展。在(zai)不遠🤶🏾的😝将(jiang)來,環渤海(hai)地
區就會(hui)成爲中國(guo)經濟發展(zhan)的新引擎(qing),并引領中(zhong)國區域發(fa)展重點
北(bei)移。
    經濟的(de)快速增長(zhang)促使我國(guo)瓦楞紙箱(xiang)行業形成(cheng)三大區域(yu)闆塊,帶動(dong)
了我國箱(xiang)闆紙生産(chan)行業的發(fa)展,2008年中國(guo)瓦楞紙市(shi)場消👽費量(liang)爲
2500萬噸左(zuo)右。三大箱(xiang)闆生産基(ji)地也已相(xiang)應形成:珠(zhu)江三角洲(zhou)😮‍💨地區,
總的(de)年生産能(neng)力爲550萬- 600萬(wan)噸;江蘇、浙(zhe)江包括安(an)徽地區,總(zong)
的年生産(chan)能力爲550萬(wan)噸左右;京(jing)、津、唐包括(kuo)河北、山東(dong)地區,總的(de)年生産能(neng)力達到了(le)500萬噸。三大(da)經濟區域(yu)包裝産值(zhi)約占當年(nian)全國
的2/3。“東(dong)快西慢,東(dong)強西弱”現(xian)象相當明(ming)顯,東北、西(xi)部及中⛹🏻‍♂️原(yuan)
地區隻占(zhan)1/3左右。包裝(zhuang)産業已日(ri)益成爲反(fan)映經濟發(fa)展🚶🏾‍♀️‍➡️水平的(de)重要标
志(zhi),成爲區域(yu)經濟的一(yi)個重要支(zhi)柱産業。

中(zhong)國瓦楞紙(zhi)箱行業持(chi)續高速發(fa)展,目前産(chan)量已位居(ju)世界😁第二(er)

中(zhong)國1954年才開(kai)始推廣使(shi)用瓦楞紙(zhi)箱,而且技(ji)術起點非(fei)常低🏃🏿‍♀️‍➡️,
    處于(yu)半手工單(dan)機生産狀(zhuang)态,設備差(cha)、産量低、質(zhi)量差😥,勞動(dong)力🙈密集,
    勞(lao)動強度高(gao)。但是改革(ge)開放以來(lai),我國瓦楞(leng)紙箱行業(ye)增🛌🏻長幅🎅🏿度(du)在世界
    各(ge)大生産國(guo)中名列首(shou)位。1995年我國(guo)瓦楞紙闆(pan)年産量達(da)到👩🏼‍❤️‍👨🏾74. 00億平
    方(fang)米,占世界(jie)總産量6. 70-/0;1999年(nian)爲113. 50億平方(fang)米,占世界(jie)總
    産量9.3%;四(si)年時間總(zong)産量增加(jia)近40億平方(fang)米,年遞增(zeng)率爲
    11.3%,大大(da)高于世界(jie)平均增長(zhang)率。2000年瓦楞(leng)紙闆生産(chan)量持💑🏾續增(zeng)長
    至123. 00億平(ping)方米,占世(shi)界總産量(liang)的比率已(yi)經達到9.8%,接(jie)近🙂‍↕️世🥑️界ˇ
    産(chan)量的十分(fen)之一。随着(zhe)世界加工(gong)制造業重(zhong)心向中♌️國(guo)轉移,我😝國(guo)包裝行
    業(ye)特别是瓦(wa)楞紙箱行(hang)業的發展(zhan)速度更快(kuai)。據統計,2003年(nian)中😮‍💨國瓦楞(leng)
    紙箱年銷(xiao)售量達到(dao)了158億平方(fang)米,超過了(le)日本,僅次(ci)于美國,位(wei)居
    世界第(di)二。而2008年更(geng)是達到了(le)200億平方米(mi)的銷量。

分類(lei)方法講解(jie)

    1.按(an)形狀分類(lei)
    (1)方形箱。這(zhe)類紙箱爲(wei)正立方體(ti),即長、寬、高(gao)尺寸均相(xiang)同。
    (2)高形箱(xiang)。這類紙箱(xiang)高度尺寸(cun)較大,長、寬(kuan)尺寸較小(xiao),且
相等。
    (3)扁(bian)形箱。這類(lei)紙箱長度(du)尺寸較大(da),寬、高尺寸(cun)較小,且相(xiang)等。
    2.按紙箱(xiang)組裝方式(shi)分類
    (1)單片(pian)箱。這類紙(zhi)箱用裁切(qie)好的一張(zhang)瓦楞紙闆(pan)即可組合(he)成箱。
    (2)兩片(pian)箱。這類紙(zhi)箱用兩張(zhang)裁切好的(de)瓦楞紙闆(pan)組合成箱(xiang)🧑🏽‍🎄。
    (3)三片箱。這(zhe)類紙箱用(yong)三張裁切(qie)好的瓦楞(leng)紙闆組合(he)👋成箱。
    3.按所(suo)用瓦楞紙(zhi)闆分類
    (1)單(dan)瓦楞紙箱(xiang)。這類紙箱(xiang)采用單瓦(wa)楞紙闆,目(mu)前多使用(yong)這種紙👋
闆(pan)成箱。
    (2)雙瓦(wa)楞紙箱。這(zhe)類紙箱采(cai)用雙瓦楞(leng)紙闆,它綜(zong)合性能較(jiao)好,
多用于(yu)包裝易損(sun)物品、重物(wu)品以及需(xu)要長期保(bao)存🙈的物品(pin)🧑🏻‍❤️‍🧑🏼。
    (3)三瓦楞紙(zhi)箱。這類紙(zhi)箱采用三(san)瓦楞紙闆(pan),其強度最(zui)好,可代
替(ti)木箱包裝(zhuang)重型設備(bei),一般與托(tuo)盤或集裝(zhuang)箱配合😘使(shi)用。
    4.按箱蓋(gai)形式分類(lei)
    (1)單開蓋箱(xiang)。這類紙箱(xiang)的箱蓋爲(wei)一頁,其端(duan)爲插舌,将(jiang)箱蓋覆
蓋(gai)于箱體,插(cha)舌插入闆(pan)縫中即可(ke)封合。
    (2)雙開(kai)蓋箱。這類(lei)紙箱的箱(xiang)蓋爲兩頁(ye),将其左右(you)旋轉,即可(ke)封
合箱體(ti)。
    (3)帽蓋箱。又(you)稱罩蓋箱(xiang),這類紙箱(xiang)的箱蓋與(yu)箱體分離(li),将箱蓋
套(tao)裝在箱體(ti)上即成蓋(gai)封。蓋封時(shi)形成雙層(ceng)箱壁,可提(ti)高😁紙箱強(qiang)度。

楞(leng)紙箱的基(ji)本箱型分(fen)爲三種(見(jian)表1-5)。


  (1) 02型即(ji)開槽型紙(zhi)箱。
  (2) 03型即套(tao)合型紙箱(xiang)。
  (3) 04型即折疊(die)型紙箱。同(tong)時将瓦楞(leng)紙箱的内(nei)配件部分(fen)🙂‍↔️以“紙
箱附(fu)件”的條目(mu)單獨另列(lie)。此外,在瓦(wa)楞紙箱的(de)尺寸規格(ge)🧛🏾‍♀️條目中将(jiang)紙
箱的箱(xiang)底面積分(fen)爲三種系(xi)列即:1)400mm×600mm、400mm×300mm、
400mm×200mm、400mm×150mm;②300mm×200mm、300mm×
130mm.  300mm xlOOmm;③200mm×150mm、200mm×133mm。

我國瓦(wa)楞紙箱箱(xiang)型分類

我國(guo)的瓦楞紙(zhi)箱箱型由(you)國家标準(zhun)局批準實(shi)施的😥GB 6543-1986瓦
楞(leng)紙箱國家(jia)标準,關于(yu)箱型和代(dai)号的規定(ding),基本上也(ye)采用了👱🏼‍♂️歐(ou)⛹🏻‍♀️洲瓦楞
紙(zhi)箱協會的(de)分類方法(fa),但依據我(wo)國實際情(qing)況有所改(gai)動,我國标(biao)準将瓦楞(leng)紙箱的基(ji)本箱型分(fen)爲三種(見(jian)表1-5)。

(1) 02型即開(kai)槽型紙箱(xiang)。
(2) 03型即套合(he)型紙箱。
(3) 04型(xing)即折疊型(xing)紙箱。同時(shi)将瓦楞紙(zhi)箱的内配(pei)件部分以(yi)“紙
箱附件(jian)”的條目單(dan)獨另列。此(ci)外,在瓦楞(leng)紙箱的尺(chi)寸規格條(tiao)目中👨‍🦰将紙(zhi)
箱的箱底(di)面積分爲(wei)三種系列(lie)即:1)400mm×600mm、400mm×300mm、
400mm×200mm、400mm×150mm;②300mm×200mm、300mm×
130mm.  300mm xlOOmm;③200mm×150mm、200mm×133mm。

按箱形結(jie)構分類續(xu)上

  (4) 04型(折(she)疊型紙箱(xiang))。折疊型紙(zhi)箱通常隻(zhi)需用一片(pian)瓦楞紙闆(pan)
便可折疊(die)組成整個(ge)箱體的側(ce)面、底和蓋(gai),無須釘合(he)或糊合,隻(zhi)需折疊
即(ji)能成型。這(zhe)種紙箱可(ke)帶有鎖口(kou)、提手、展示(shi)窗、展示架(jia)😮‍💨等😥結構💔性(xing)附
件,能直(zhi)接看到紙(zhi)箱内所裝(zhuang)的商品,廣(guang)泛應用于(yu)超💌市的商(shang)品展👋銷。這(zhe)
種紙箱多(duo)爲中小型(xing)包裝箱,多(duo)用E型、B型或(huo)微型瓦楞(leng)紙闆制作(zuo)。這
種紙箱(xiang)共有50多種(zhong)樣式,圖1 -13是(shi)其中的兩(liang)種。

(5) 05型(滑蓋(gai)型紙箱)。滑(hua)蓋型紙箱(xiang)由數片楞(leng)向不同的(de)内
裝箱、框(kuang)架、隔闆與(yu)外箱等組(zu)成,内外箱(xiang)以相對方(fang)向運動而(er)封合,
這種(zhong)紙箱用料(liao)較省,但加(jia)工工藝較(jiao)複雜,多用(yong)于制作較(jiao)小型的包(bao)
裝箱(盒)使(shi)用,這種紙(zhi)箱樣式較(jiao)少,有9種,圖(tu)1 – 14是其中
的(de)兩種。
    (6) 06型(固(gu)定型紙箱(xiang))。固定型紙(zhi)箱由三片(pian)瓦楞紙闆(pan)組成,
其中(zhong)一片爲主(zhu)箱體,另兩(liang)片爲分離(li)的端面,端(duan)面和箱體(ti)靠箱釘、
膠(jiao)帶或膠黏(nian)劑封合成(cheng)本箱,成型(xing)後無法展(zhan)平,比較費(fei)…工時🙂‍↔️,适合(he)
包裝易碎(sui)品、大體積(ji)物品。但樣(yang)式也較少(shao)有9種。圖1 – 15是(shi)其
中兩種(zhong)。由深圳印(yin)刷廠 海倫(lun)印刷編輯(ji)

(7) 07型(預粘(zhan)自動型紙(zhi)箱)。預粘自(zi)動型紙箱(xiang)由一片瓦(wa)楞紙闆
構(gou)成,制成品(pin)可以展平(ping)便于運輸(shu),節約成本(ben)。這種紙箱(xiang)隻要打開(kai)😁即可自動(dong)封合成型(xing),這類紙箱(xiang)多用于中(zhong)、小型包裝(zhuang)箱(盒)使用(yong),其樣式
有(you)20種,圖1 -16是其(qi)中的三種(zhong)。

(8) 09型(内附件(jian))。附件型紙(zhi)箱内襯附(fu)件有平闆(pan)型、平套型(xing)、
  直套型、隔(ge)闆型、充填(tian)型和角型(xing)等。内附件(jian)可用于定(ding)位👩🏼‍❤️‍👨🏾、緩☠️沖、分(fen)
  隔、加強紙(zhi)箱中的商(shang)品。樣式較(jiao)多,有45種。圖(tu)1  – 17是其中四(si)^種。
    2.我國瓦(wa)楞紙箱箱(xiang)型分類
    我(wo)國的瓦楞(leng)紙箱箱型(xing)由國家标(biao)準局批準(zhun)實施的GB 6543-1986瓦(wa)
  楞紙箱國(guo)家标準,關(guan)于箱型和(he)代号的規(gui)定,基本上(shang)🧑🏻‍❤️‍🧑🏼也采用了(le)歐洲瓦楞(leng)
  紙箱協會(hui)的分類方(fang)法,但依據(ju)我國實際(ji)情況有所(suo)改動,我國(guo)标🙈準将瓦(wa)

 

按(an)箱型結構(gou)分類

  瓦楞紙(zhi)箱的種類(lei)多,結構多(duo)變,不同箱(xiang)型結構瓦(wa)楞紙🧛🏾‍♀️箱👽的(de)包裝功
能(neng)和紙箱的(de)綜合物理(li)性能有一(yi)定的差别(bie),因此還應(ying)✍🏻該💑🏾對瓦💞楞(leng)紙箱的箱(xiang)
型結構方(fang)式進行科(ke)學合理、準(zhun)确細緻的(de)分類,以便(bian)于紙箱設(she)計、生
産、使(shi)用等多方(fang)面的參照(zhao)和交流。

    1.紙(zhi)箱箱型的(de)國際分類(lei)與特性
    世(shi)界各國對(dui)紙箱的箱(xiang)型有不同(tong)的分類方(fang)式,目前🛀🏼國(guo)✋際瓦楞紙(zhi)👌箱箱
型标(biao)準有兩大(da)類:一類是(shi)經國際瓦(wa)楞紙闆協(xie)會(ICCA)批準👋,由(you)歐🧑🏽‍❤️‍💋‍🧑🏻
洲瓦楞(leng)紙箱制造(zao)商聯合會(hui)和歐洲同(tong)質紙闆組(zu)織( ESBO)合作制(zhi)定的
“國際(ji)瓦楞紙箱(xiang)”,箱包含有(you)比較完整(zheng)的箱型,該(gai)标準對結(jie)🧑🏾‍🎄構👹繁雜又(you)較
難描述(shu)的各種基(ji)本箱型結(jie)構作了比(bi)較科學而(er)詳盡👨‍🦰的分(fen)類,制定了(le)一套
數字(zi)标志系統(tong),利用4-8位數(shu)字描述紙(zhi)箱的各種(zhong)基本👱🏼‍♂️箱型(xing),如圖1 –
9所示(shi),這種分類(lei)能使不同(tong)語言的設(she)計、生産人(ren)員易于接(jie)受和采用(yong)。
另一種是(shi)日本、美國(guo)等自己制(zhi)定的國家(jia)标準。文章(zhang)由深圳印(yin)刷廠 海倫(lun)印刷編輯(ji)

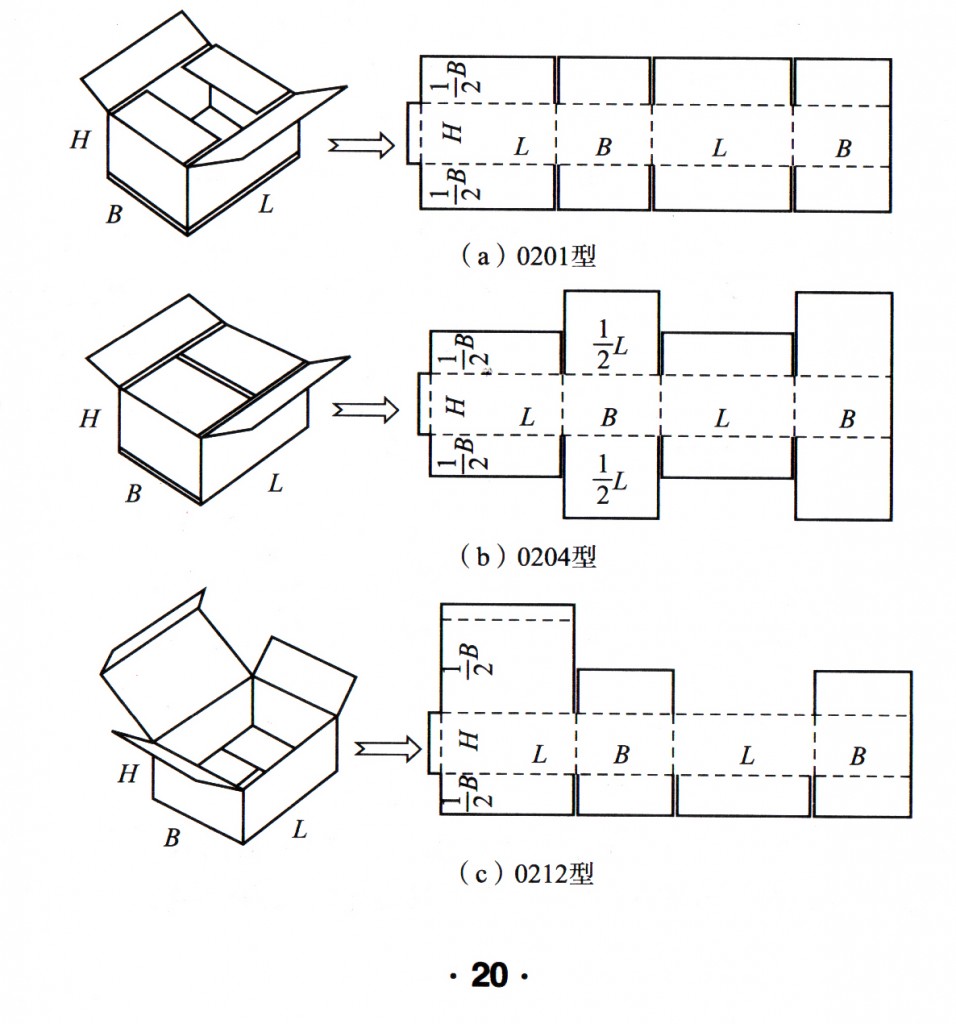
(1) 01箱型。01箱(xiang)型是指瓦(wa)楞紙闆,0100箱(xiang)型代表單(dan)面瓦楞紙(zhi)闆
卷,可做(zuo)緩沖材料(liao),或成爲0110箱(xiang)型的雙面(mian)瓦楞紙闆(pan),如圖1 -10所示(shi)👩🏽‍🐰‍👩🏿。
    ·

   (2) 02箱型(開槽(cao)型紙箱)。開(kai)槽型紙箱(xiang)是一種最(zui)常見的外(wai)包裝🧛🏾‍♀️
箱,它(ta)是由一片(pian)瓦楞紙闆(pan)組成的,無(wu)獨立分離(li)的上下搖(yao)蓋,通過😈釘(ding)
合、黏合或(huo)用膠帶粘(zhan)接等方法(fa)将箱坯接(jie)合制成箱(xiang)體,箱體上(shang)下👿搖蓋可(ke)
以很方便(bian)地構成箱(xiang)底和箱蓋(gai)。紙箱制成(cheng)成品後在(zai)運輸儲放(fang)時可折疊(die)展
平,使用(yong)時将箱底(di)箱蓋封合(he)即可。這種(zhong)紙箱有20多(duo)種式樣,圖(tu)1  – 11
是其中的(de)四種,其中(zhong)0201型開槽式(shi)瓦楞紙箱(xiang)是目前應(ying)用👹最廣泛(fan)的箱
型,通(tong)常被稱爲(wei)标準型的(de)外包裝瓦(wa)楞紙箱結(jie)構箱型。

(3) 03型(xing)(套合型紙(zhi)箱)。套合型(xing)紙箱一般(ban)由兩片或(huo)兩片以上(shang)瓦
楞紙闆(pan)組成,其特(te)點是箱體(ti)與箱蓋分(fen)離,使用時(shi)才套接起(qi)來構成箱(xiang)
體,箱體正(zheng)放時,箱蓋(gai)可以部分(fen)或完全正(zheng)确蓋住箱(xiang)體。這種😁箱(xiang)型~一般
比(bi)較适合于(yu)堆疊負載(zai)強度要求(qiu)較高的包(bao)裝,03型紙箱(xiang)的式樣有(you)👻20多
種,圖1 -12是(shi)其中的三(san)種。